Quiz Questions

MONTHLY TEST SEPTEMBER 2025 Fitter Unit - 2 (ITISKILL7958VN)

Question 1 1 Marks
Which vice is used to hold hollow cylindrical jobs? | ಟೊಳ್ಳಾದ ದುಂಡಾಕಾರದ ಜಾಬ್ಗಳನ್ನು ಹಿಡಿದಿಡಲು ಯಾವ ವೈಸ್ ಉಪಯೋಗಿಸಲಾಗುತ್ತದೆ?
A
Pin vice | ಪಿನ್ ವೈಸ್
B
Pipe vice | ಪೈಪ್ ವೈಸ್
C
Hand vice | ಹ್ಯಾಂಡ್ ವೈಸ್
D
Bench vice | ಬೆಂಚ್ ವೈಸ್
Question 2 1 Marks
Which type of file is used to make the job closer to the finishing size? | ಜಾಬ್ ಪೂರ್ಣಗೊಳಿಸುವ ಗಾತ್ರಕ್ಕೆ (ಫಿನಿಶಿಂಗ್ ಸೈಜ್) ಹತ್ತಿರವಾಗಿಸಲು ಯಾವ ರೀತಿಯ ಫೈಲ್ ಅನ್ನು ಬಳಸಲಾಗುತ್ತದೆ?
A
Single cut file | ಸಿಂಗಲ್ ಕಟ್ ಫೈಲ್
B
Curved cut file | ಕರ್ವ್ಡ್ ಕಟ್ ಫೈಲ್
C
Second cut file | ಸೆಕೆಂಡ್ ಕಟ್ ಫೈಲ್
D
Double cut file | ಡಬಲ್ ಕಟ್ ಫೈಲ್
Question 3 1 Marks
Which caliper is used for finding the centre of the round bar? | ವೃತ್ತಾಕಾರದ ಸರಳಿನ ಕೇಂದ್ರ ಬಿಂದುವನ್ನು ಗುರುತಿಸಲು (ಸೆಂಟರ್ ಆಫ್ ದಿ ರೌಂಡ್ ಬಾರ್) ಯಾವ ಕ್ಯಾಲಿಫರನ್ನು ಬಳಸಾಗುತ್ತದೆ?
A
Jenny caliper | ಜೆನ್ನಿ ಕ್ಯಾಲಿಫರ್
B
Inside caliper | ಒಳಬದಿ (ಇನ್ಸೈಡ್) ಕ್ಯಾಲಿಫರ್
C
Outside caliper | ಹೊರಬದಿ (ಔಟ್ಸೈಡ್) ಕ್ಯಾಲಿಫರ್
D
Firm joint caliper | ಸ್ಥಿರ ಜೋಡಣೆ (ಫರ್ಮ್ ಜಾಯಿಂಟ್) ಕ್ಯಾಲಿಫರ್
Question 4 1 Marks
What is the name of the file shown in the figure? | ಚಿತ್ರದಲ್ಲಿ ತೋರಿಸಿರುವ ಫೈಲ್‌ನ ಹೆಸರೇನು?
Question Image
A
Barrot file | ಬ್ಯಾರಟ್ ಫೈಲ್
B
Riffler file | ರಿಪ್ಲರ್ ಫೈಲ್
C
Crossing file | ಕ್ರಾಸಿಂಗ್ ಫೈಲ್
D
Mill saw file | ಮಿಲ್ ಸಾ ಫೈಲ್
Question 5 1 Marks
Which part of the bevel protractor comes in contact with the inclined surface while measuring? | ಬಿವೆಲ್ ಕೋನಮಾಪಕದ ಯಾವ ಭಾಗವು ಅಳತೆಮಾಡುವಾಗ ಓರಯಾಗಿರುವ ಮೇಲ್ಮೈಯನ್ನು ಸೇರುತ್ತದೆ?
A
Dial | ಡಯಲ್
B
Disc | ಡಿಸ್ಕ್
C
Blade | ಬ್ಲೇಡ್
D
Stock | ಸ್ಟಾಕ್
Question 6 1 Marks
How can you correct the digging of a hammer while striking? | ಹೊಡೆಯುವಾಗ ಸುತ್ತಿಗೆಯ ಅಗೆಯುವಿಕೆಯನ್ನು ಹೇಗೆ ಸರಿಪಡಿಸುವುದು?
A
Giving slight convexity on face | ಮುಖದ ಮೇಲೆ ಸ್ವಲ್ಪ ಪೀನತೆಯನ್ನು (ಕಾನ್ವೆಕ್ಸಿಟಿ) ನೀಡುತ್ತದೆ
B
Giving slight convexity on cheek | ಸುತ್ತಿಗೆಯ ಕೆನ್ನೆಯ ಮೇಲೆ ಸ್ವಲ್ಪ ಪೀನವನ್ನು ನೀಡುತ್ತದೆ
C
Giving slight concavity on cheek | ಸುತ್ತಿಗೆಯಲ್ಲಿ ಕೆನ್ನೆಯ ಮೇಲೆ ಸ್ವಲ್ಪ ಸಂಕೋಚನವನ್ನು (ಕಾನ್ಕೇವ್) ನೀಡುವುದು
D
Giving slight concavity on face | ಸುತ್ತಿಗೆಯಲ್ಲಿ ಮುಖದ ಮೇಲೆ ಸ್ವಲ್ಪ ಸಂಕೋಚನವನ್ನು (ಕಾನ್ಕೇವ್) ನೀಡುತ್ತದೆ
Question 7 1 Marks
What is the name of the angle between the axis of chisel and the job surface while chipping? | ಕೆತ್ತುವಾಗ ಚಾಣದ ಅಕ್ಷ ರೇಖೆ (ಆಕ್ಸಿಸ್ ಆಫ್ ಚಿಸೆಲ್) ಮತ್ತು ಜಾಬ್‍ನ ಮೇಲ್ಮೈ ನಡುವಿನ ಕೋನವನ್ನು (ಆಂಗಲ್) ಹೆಸರಿಸಿ.
A
Rake angle | ರೇಕ್ ಆಂಗಲ್
B
Point angle | ಪಾಯಿಂಟ್ ಆಂಗಲ್
C
Clearance angle | ಕ್ಲಿಯರೆನ್ಸ ಆಂಗಲ್
D
Angle of inclination | ಇಳಿಜಾರಿನ ಆಂಗಲ್
Question 8 1 Marks
Which chisel is used for cutting oil grooves? | ಆಯಿಲ್ ಗ್ರೂವಗಳನ್ನು ಕತ್ತರಿಸಲು ಯಾವ ಚಾಣ (ಚಿಸೆಲ್) ಉಪಯೋಗಿಸುತ್ತಾರೆ?
A
Flat chisel | ಚಪ್ಪಟೆ ಚಾಣ (ಫ್ಲಾಟ್ ಚಿಸೆಲ್)
B
Web chisel | ವೆಬ್ ಚಾಣ
C
Half round nose chisel | ಅರ್ಧ ಚಂದ್ರಾಕೃತಿ ತುದಿಯುಳ್ಳ ಚಾಣ (ಹಾಫ್ ರೌಂಡ್ ನೋಸ್ ಚಿಸೆಲ್ಸ್)
D
Diamond point chisel | ವಜ್ರದ ಮೊನಿಚಿನ ಚಾಣ (ಡೈಮಂಡ್ ಪಾಯಿಂಟ್ ಚಿಸೆಲ್)
Question 9 1 Marks
Which chisel is used for squaring materials at the corners and joints? | ಲೋಹಗಳ ಜೋಡಣೆಗಳಲ್ಲಿ, ಮೂಲೆಗಳನ್ನು ಚೌಕಾಕಾರಗೊಳಿಸಲು (ಸ್ಕ್ವೇರಿಂಗ್) ಯಾವ ಚಾಣ ಉಪಯೋಗಿಸುತ್ತಾರೆ?
A
Flat chisel | ಚಪ್ಪಟೆ ಚಾಣ (ಫ್ಲಾಟ್ ಚಿಸೆಲ್)
B
Cross cut chisel | ಅಡ್ಡ ಕತ್ತರಿ ಚಾಣ (ಕ್ರಾಸ್ ಕಟ್ ಚಿಸೆಲ್)
C
Diamond point chisel | ವಜ್ರದ ಮೊನಿಚಿನ ಚಾಣ (ಡೈಮಂಡ್ ಪಾಯಿಂಟ್ ಚಿಸೆಲ್)
D
Half round nose chisels | ಅರ್ಧ ಚಂದ್ರಾಕೃತಿ ತುದಿಯುಳ್ಳ ಚಾಣ (ಹಾಫ್ ರೌಂಡ್ ನೋಸ್ ಚಿಸೆಲ್ಸ್)
Question 10 1 Marks
What is the use of try square shown in the figure? | ಚಿತ್ರದಲ್ಲಿ ತೋರಿಸಿರುವ ಟ್ರೈ ಸ್ಕ್ವೇರ್‌ನ ಉಪಯೋಗವೇನು?
Question Image
A
To check the flatness | ಸಮತಲತೆಯನ್ನು ಪ್ಲಾಟ್ನೆಸ್ ಪರೀಕ್ಷಿಸಲು
B
To check the squareness | ಚೌಕಟ್ಟನ್ನು (ಸ್ಕ್ವೇರ್ನೆಸ್ ) ಪರೀಕ್ಷಿಸಲು
C
To mark lines at 90° | 90 ° ನಲ್ಲಿ ರೇಖೆಗಳನ್ನು ಗುರುತಿಸಲು
D
To set the workpiece at right angle | ವರ್ಕ್‌ಪೀಸ್ ಅನ್ನು ಲಂಬ ಕೋನದಲ್ಲಿ (ರೈಟ್ ಆಂಗಲ್) ಹೊಂದಿಸಲು
Question 11 1 Marks
Which material is used to make bench vice? | ಬೆಂಚ್ ವೈಸ್ ತಯಾರಿಸಲು ಬಳಸುವ ಲೋಹವೇನು?
A
Tool steel | ಟೂಲ್ ಸ್ಟೀಲ್
B
High carbon steel | ಹೈ ಕಾರ್ಬನ್ ಸ್ಟೀಲ್
C
Medium carbon steel | ಮಿಡಿಯಮ್ ಕಾರ್ಬನ್ ಸ್ಟೀಲ್
D
Cast iron | ಕ್ಯಾಸ್ಟ್ ಐರನ್
Question 12 1 Marks
Which angle is represented by the symbol ““γ”” on the cutting chisel shown in the figure? | ಕತ್ತರಿಸುವ ಚಾಣದ ಮೇಲೆ ಗುರತಿಸಿದ “γʺ ನ ಗುರುತು ಯಾವ ಕೋನವನ್ನು ತೋರಿಸುತ್ತದೆ?
Question Image
A
Rake angle | ರೇಕ್ ಆಂಗಲ್
B
Wedge angle | ವೆಡ್ಜ್ ಆಂಗಲ್
C
Cutting angle | ಕಟಿಂಗ್ ಆಂಗಲ್
D
Clearance angle | ಕ್ಲಿಯರೆನ್ಸ ಆಂಗಲ್
Question 13 1 Marks
Which marking media is poisonous? | ಇದರಲ್ಲಿ ಯಾವ ಗುರುತು ಮಾದ್ಯಮ ವಿಷಕಾರಿಯಾಗಿದ?
A
White wash | ವೈಟ್ ವಾಶ್
B
Prussian blue | ಪ್ರ್ಯುಶಿಯನ್ ಬ್ಲ್ಯೂ
C
Copper sulphate | ತಾಮ್ರದ ಸಲ್ಪೇಟ್
D
Cellulose lacquer | ಸೆಲುಲೋಸ್ ಲಾಕ್ವರ್
Question 14 1 Marks
What is the name of the vice shown in the figure? | ಈ ವೈಸ್‍ನ ಹೆಸರೇನು?
Question Image
A
Pin vice | ಪಿನ್ ವೈಸ್
B
Pipe vice | ಪೈಪ್ ವೈಸ್
C
Hand vice | ಕೈ ವೈಸ್
D
Machine vice | ಮಶೀನ್ ವೈಸ್
Question 15 1 Marks
What is the name of the vice shown in the figure? | ಈ ಕೆಳಗಿನ ವೈಸ್‍ನ ಹೆಸರೇನು?
Question Image
A
Pin vice | ಪಿನ್ ವೈಸ್
B
Pipe vice | ಪೈಪ್ ವೈಸ್
C
Hand vice | ಕೈ ವೈಸ್
D
Quick releasing vice | ಕ್ವಿಕ್ ರೆಲೀಸಿಂಗ್ ವೈಸ್
Question 16 1 Marks
Which effect occurs if the clearance angle of the chisel is low during chipping? | ಕೆತ್ತನೆ ಮಾಡುವಾಗ ಚಾಣದ ಕ್ಲಿಯರೆನ್ಸ ಎಂಗಲ್ ಕಡಿಮೆಯಾಗಿದ್ದರೆ ಆಗುವ ಪರಿಣಾಮವೇನು?
A
Chisel will slip | ಚಾಣ ಜಾರುವದು, ಕತ್ತರಿಸುವ ತುದಿ ಇರಿಯದಿರುವದು
B
Cutting edge digs in | ಕತ್ತರಿಸುವ ತುದಿ ಆಳದವರೆಗೆ ಅಗೆಯುವದು
C
Cutting edge will break | ಕತ್ತರಿಸುವ ತುದಿ ಮುರಿದುಕೊಳ್ಳುವದು
D
Chisel will move freely | ಚಾಣದ ತುದಿಯು ನೇರವಾಗಿ ಮತ್ತು ಮುಕ್ತವಾಗಿ ಸಂಚರಿಸುವದು
Question 17 1 Marks
Which hand tool is used to finish the resharpened divider point? | ಮರು ಹರಿತಗೊಳಿಸಲಾದ ಡಿವೈಡರ್ ಪಾಯಿಂಟ್‍ನ್ನು ಫಿನಿಷ್ ಮಾಡಲು ಯಾವುದನ್ನು ಬಳಸಲಾಗಿತ್ತದೆ?
A
File | ಅರ (ಫೈಲ್)
B
Grinder | ಗ್ರೈಂಡರ್
C
Scraper | ಸ್ಕ್ರ್ಯಾಪರ್
D
Oil stone | ಆಯಿಲ್ ಸ್ಟೋನ್
Question 18 1 Marks
What is the name of the angular measuring instrument shown in the figure? | ಚಿತ್ರದಲ್ಲಿ ತೋರಿಸಿರುವ ಕೋನೀಯ ಅಳತೆ (ಆಂಗುಲರ್ ಮೆಷರಿಂಗ್) ಉಪಕರಣದ ಹೆಸರೇನು?
Question Image
A
Bevel gauge | ಬೆವೆಲ್ ಗೇಜ್
B
Bevel protractor | ಕೋನಮಾಪಕ (ಬೆವೆಲ್ ಪ್ರೋಟ್ರಕ್ಟರ್)
C
Universal bevel gauge | ಯೂನಿವರ್ಸಲ್ ಬೆವೆಲ್ ಗೇಜ್
D
Universal surface gauge | ಯುನಿವರ್ಸಲ್ ಸರ್ಫೆಸ್ ಗೇಜ್
Question 19 1 Marks
What is the name of the part marked as ʹXʹ shown in the figure? | ಈ ಕೆಳಗಿನ ಚಿತ್ರದಲ್ಲಿ ʹXʹ ನಿಂದ ಗುರುತಿಸಲಾದ ಭಾಗದ ಹೆಸರೇನು?
Question Image
A
Leg | ಕಾಲು
B
Peg | ಪೆಗ್
C
Washer | ವಾಶರ್
D
Fulcrum | ಫಲ್ಕ್ರಮ್
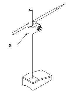
Question 20 1 Marks
What is the name of the part marked as ‘X’ shown in the figure? | ಚಿತ್ರದಲ್ಲಿ ತೋರಿಸಿರುವ ʹXʹ ಎಂದು ಗುರುತಿಸಲಾದ ಭಾಗದ ಹೆಸರೇನು?
Question Image
A
Nut | ನಟ್
B
Snug | ಸ್ನಗ್
C
Spindle | ಸ್ಪಿಂಡಲ್
D
Scriber | ಸ್ಕ್ರೈಬರ್