QuizApp
Home
Teacher
Login
Register
Guest Mode
Student
Login
Register
Guest Mode
Dashboard
Study MCQ
Fitter
FY->Module-3 : Sheet Metal
Set 3
Set 3
Practice Mode
Share
Prev
Next
Set Completed!
0
/
5
0%
Next Set
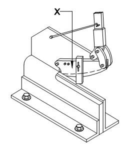
Q164
Permalink
Report
What is the name of the part marked as ‘X’ shown in the figure? | ಚಿತ್ರದಲ್ಲಿ ತೋರಿಸಿರುವ ʹXʹ ಎಂದು ಗುರುತಿಸಲಾದ ಭಾಗದ ಹೆಸರೇನು?
A
Base plate | ಬೇಸ್ ಪ್ಲೇಟ್
B
Lever arm | ಲಿವರ್ ಆರ್ಮ್
C
Lower blade | ಲೋವರ್ ಬ್ಲೇಡ್
D
Upper blade | ಮೇಲಿನ (ಅಪ್ಪರ್) ಬ್ಲೇಡ್
Q165
Permalink
Report
What is the name of the tool that is used to make fluid tight joint in riveting? | ರಿವರ್ಟಿಂಗ್ನಲ್ಲಿ ಫ್ಲೂಯಿಡ್ ಟೈಟ್ ಜಾಯಿಂಟ್ ಮಾಡಲು ಬಳಸುವ ಉಪಕರಣದ ಹೆಸರೇನು?
A
Drift | ಡ್ರಿಫ್ಟ್
B
Rivet snap | ರಿವೆಟ್ ಸ್ನ್ಯಾಪ್
C
Fullering tool | ಫುಲ್ಲರಿಂಗ್ ಉಪಕರಣ
D
Caulking tool | ಕೌಲ್ಕಿಂಗ್ ಉಪಕರಣ
Q166
Permalink
Report
Why acid tanks are made of lead sheets? | ಆಸಿಡ್ ಟ್ಯಾಂಕ್ ಗಳನ್ನು ಲೆಡ್ ಶೀಟ್ ಗಳಿಂದ ಏಕೆ ತಯಾರಿಸಲಾಗುತ್ತದೆ?
A
To protect against corrosive | ನಾಶಕಾರಿ ವಿರುದ್ಧ ರಕ್ಷಿಸಲು
B
To protect against oxidation | ಆಕ್ಸಿಡೀಕರಣದ ವಿರುದ್ಧ ರಕ್ಷಿಸಲು
C
Highly resistant to abrasion | ಸವೆತಕ್ಕೆ ಹೆಚ್ಚು ನಿರೋಧಕ
D
To avoid leakage | ಸೋರಿಕೆಯನ್ನು ತಪ್ಪಿಸಲು
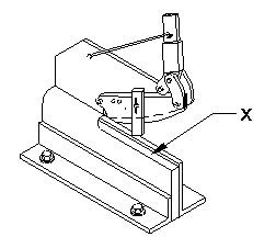
Q167
Permalink
Report
What is the name of the part marked as ‘X’ shown in the figure? | ಚಿತ್ರದಲ್ಲಿ ತೋರಿಸಿರುವ ʹXʹ ಎಂದು ಗುರುತಿಸಲಾದ ಭಾಗದ ಹೆಸರೇನು?
A
Clamp | ಕ್ಲಾಂಪ್
B
Lever arm | ಲಿವರ್ ಆರ್ಮ್
C
Lower blade | ಲೋವರ್ ಬ್ಲೇಡ್
D
Upper blade | ಅಪ್ಪರ್ ಬ್ಲೇಡ್
Q168
Permalink
Report
Which sheet metal is easier to joint using soldering? | ಬೆಸುಗೆ ಹಾಕುವಿಕೆಯನ್ನು (ಸಾಲ್ಡರಿಂಗ್) ಬಳಸಿಕೊಂಡು ಜೋಡಿಸಲು ಯಾವ ಶೀಟ್ ಮೆಟಲ್ ಸುಲಭವಾಗಿದೆ?
A
Tinned plate | ಟಿನ್ಡ್ ಪ್ಲೇಟ್
B
Lead sheet | ಲೆಡ್ ಶೀಟ್
C
Galvanised iron sheet | ಕಲಾಯಿ ಮಾಡಿದ ಕಬ್ಬಿಣ (ಗ್ಯಾಲ್ವನೈಸ್ಡ್ ಐರನ್ ಶೀಟ್)
D
Stainless steel sheet | ಸ್ಟೇನ್ಲೆಸ್ ಸ್ಟೀಲ್ ಶೀಟ್
‹
1
2
3
4
5
6
7
8
9
10
11
›
Report Question Issue
Your Name (Optional)
Your Email (Optional)
What do you think is the correct answer?
*
-- Select the correct answer --
A
B
C
D
Select which option you believe is the correct answer.
Feedback
*
Verify you're human
*
Loading...