Set 2 Practice Mode

Set Completed!

0 / 5

0%

Q616
Permalink
How pipes are classified? | ಪೈಪ್ಗಳನ್ನು ಹೇಗೆ ವರ್ಗೀಕರಿಸಲಾಗಿದೆ?
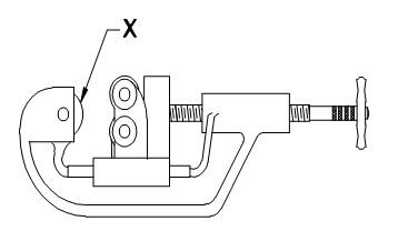
Q617
Permalink
What is the name of the part marked as ʹxʹ shown in the figure? | ಚಿತ್ರದಲ್ಲಿ ತೋರಿಸಿರುವ ʹxʹ ಎಂದು ಗುರುತಿಸಲಾದ ಭಾಗದ ಹೆಸರೇನು?
Q618
Permalink
Which wrench is used for tightening more than 50 mm diameter of pipe? | 50 ಎಂಎಂ ವ್ಯಾಸಕ್ಕಿಂತ (ಡಯಾಮೀಟರ್) ಹೆಚ್ಚಿನ ಪೈಪ್ ಅನ್ನು ಬಿಗಿಗೊಳಿಸಲು ಯಾವ ವ್ರೆಂಚ್ ಅನ್ನು ಬಳಸಲಾಗುತ್ತದೆ?
Q619
Permalink
What is the angle of deviations provided on elbows and bends in pipe works? | ಪೈಪ್ ಕೆಲಸಗಳಲ್ಲಿ ಮೊಣಕೈಗಳು ಮತ್ತು ಬಾಗುವಿಕೆಗಳ ಮೇಲೆ ಒದಗಿಸಲಾದ ವಿಚಲನದ ಕೋನ ಯಾವುದು?
Q620
Permalink
What is the name of the pipe fitting item shown in the figure? | ಚಿತ್ರದಲ್ಲಿ ತೋರಿಸಿರುವ ಪೈಪ್ ಫಿಟ್ಟಿಂಗ್ ಐಟಂನ ಹೆಸರೇನು?