Quiz Questions

MONTHLY TEST (ITISKILL9358CD)

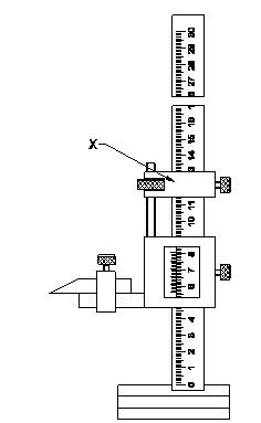
Question 1 1 Marks
What is the name of the part marked as ‘X’ shown in the figure? | ಚಿತ್ರದಲ್ಲಿ ತೋರಿಸಿರುವ ʹXʹ ಎಂದು ಗುರುತಿಸಲಾದ ಭಾಗದ ಹೆಸರೇನು?
Question Image
A
Beam | ಬೀಮ್
B
Main scale | ಮೇನ್ ಸ್ಕೇಲ್
C
Fine adjusting nut | ಫೈನ್ ಅಡ್ಜಸ್ಟಮೆಂಟ್ ನಟ್
D
Fine adjusting slide | ಫೈನ್ ಅಡ್ಜಸ್ಡಿಂಗ್ ಸ್ಲೈಡ್
Question 2 1 Marks
In which situation the zero setting of a digital vernier caliper is necessary? | ಯಾವ ಪರಿಸ್ಥಿತಿಯಲ್ಲಿ ಡಿಜಿಟಲ್ ವರ್ನಿಯರ್ ಕ್ಯಾಲಿಪರ್‌ನ ಶೂನ್ಯ ಸೆಟ್ಟಿಂಗ್ ಅಗತ್ಯ ಬೇಕು?
A
While removing the battery from caliper | ಕ್ಯಾಲಿಪರ್‌ನಿಂದ ಬ್ಯಾಟರಿಯನ್ನು ತೆಗೆದುಹಾಕುವಾಗ
B
While turning off the vernier caliper | ವರ್ನಿಯರ್ ಕ್ಯಾಲಿಪರ್ ಆಫ್ ಆಗಿರುವಾಗ
C
When jaws touch together | ಜಾಸ್ ಒಟ್ಟಿಗೆ ಸ್ಪರ್ಶಿಸಿದಾಗ
D
When jaws are separated | ಜಾಸ್ ಬೇರ್ಪಟ್ಟಾಗ
Question 3 1 Marks
What is the reading of the vernier bevel protractor shown in the figure? | ಚಿತ್ರದಲ್ಲಿ ತೋರಿಸಿರುವ ವರ್ನಿಯರ್ ಬೆವೆಲ್ ಪ್ರೊಟ್ರಾಕ್ಟರ್‌ನ ರೀಡಿಂಗ್ ಏನು?
Question Image
A
18° 50ʹ
B
41° 50ʹ
C
50° 50ʹ
D
58° 50ʹ
Question 4 1 Marks
Which material is used to make drill chuck? | ಡ್ರಿಲ್ ಚಕ್ ತಯಾರಿಸಲು ಯಾವ ಮೆಟೀರಿಯಲ್ ಬಳಸಲಾಗುತ್ತದೆ?
A
High speed steel | ಹೈ ಸ್ಪೀಡ್ ಸ್ಟೀಲ್
B
Mild steel | ಮೈಲ್ಡ್ ಸ್ಟೀಲ್
C
Special alloy steel | ಸ್ಪೆಷಲ್ ಅಲಾಯ್ ಸ್ಟೀಲ್
D
High carbon steel | ಹೈ ಕಾರ್ಬನ್ ಸ್ಟೀಲ್
Question 5 1 Marks
Which mechanical property of metal has the ability to withstand wear and abrasion? | ಲೋಹದ ಯಾವ ಯಾಂತ್ರಿಕ ಗುಣವು ಸವೆತ ಮತ್ತು ಸವೆತವನ್ನು ತಡೆದುಕೊಳ್ಳುವ ಸಾಮರ್ಥ್ಯವನ್ನು ಹೊಂದಿದೆ?
A
Toughness | ಗಟ್ಟಿತನ
B
Hardness | ಗಡಸುತನ
C
Brittleness | ಸೂಕ್ಷ್ಮತೆ
D
Malleability | ಮೃದುತ್ವ
Question 6 1 Marks
What is the accuracy of a metric outside micrometer? | ಮೆಟ್ರಿಕ್ ಔಟ್ ಸೈಡ್ ಮೈಕ್ರೊಮೀಟರ್‌ನ ಆಕ್ಯುರೆಸಿ ಏನು?
A
0.01 mm
B
0.001 mm
C
0.02 mm
D
0.002 mm
Question 7 1 Marks
What is the name of the part marked as ʹXʹ shown in the figure? | ಚಿತ್ರದಲ್ಲಿ ತೋರಿಸಿರುವ ʹXʹ ಎಂದು ಗುರುತಿಸಲಾದ ಭಾಗದ ಹೆಸರೇನು?
Question Image
A
Anvil | ಆನ್ವಿಲ್
B
Thimble | ಥಿಂಬಲ್
C
Spindle | ಸ್ಪಿಂಡಲ್
D
Spindle lock | ಸ್ಪಿಂಡಲ್ ಲಾಕ್
Question 8 1 Marks
Which part of micrometer ensures uniform pressure between the measuring surfaces? | ಮೈಕ್ರೊಮೀಟರ್‌ನ ಯಾವ ಭಾಗವು ಅಳೆಯುವ ಮೇಲ್ಮೈಗಳ ನಡುವೆ ಏಕರೂಪದ ಒತ್ತಡವನ್ನು ಖಾತ್ರಿಗೊಳಿಸುತ್ತದೆ?
A
Ratchet stop | ರಾಚೆಟ್ ಸ್ಟಾಪ್
B
Spindle | ಸ್ಪಿಂಡಲ್
C
Barrel / sleeve | ಬ್ಯಾರೆಲ್ / ಸ್ಲೀವ್
D
Thimble | ಟಿ೦ಬಲ್
Question 9 1 Marks
What is the name of the drilling machine shown in the figure? | ಚಿತ್ರದಲ್ಲಿ ತೋರಿಸಿರುವ ಡ್ರಿಲ್ಲಿಂಗ್ ಮಷಿನ್ ನ ಹೆಸರೇನು?
Question Image
A
Pillar drilling machine | ಪಿಲ್ಲರ್ ಡ್ರಿಲ್ಲಿಂಗ್ ಮಷಿನ್
B
Gang drilling machine | ಗ್ಯಾಂಗ್ ಡ್ರೀಲ್ಲಿಂಗ್ ಮಶೀನ್
C
Bench drilling machine | ಬೆಂಚ್ ಡ್ರಿಲ್ಲಿಂಗ್ ಮಷಿನ್
D
Radial drilling machine | ರೆಡಿಯಲ್ ಡ್ರಿಲ್ಲಿಂಗ್ ಮಷಿನ್
Question 10 1 Marks
Which metal property can be drawn into the wire without any rupture? | ಯಾವುದೇ ಛಿದ್ರವಿಲ್ಲದೆ ತಂತಿಯೊಳಗೆ ಎಳೆಯಬಹುದಾದ ಲೋಹದ ಗುಣ ಯಾವುದು?
A
Ductility | ನಮ್ಯತೆ ಗುಣ
B
Tenacity | ಜಿಗುಟುತಣ
C
Elasticity | ಎಲಾಸ್ಟಿಸಿಟಿ ಗುಣ
D
Malleability | ಮೃದುತ್ವ ಗುಣ
Question 11 1 Marks
Which is an integral part of the stock in vernier bevel protractor? | ವೆರ್ನಿಯರ್ ಬೆವೆಲ್ ಪ್ರೊಟ್ರಾಕ್ಟರ್‌ನಲ್ಲಿ ಸ್ಟಾಕ್‌ನ ಅವಿಭಾಜ್ಯ ಭಾಗ ಯಾವುದು?
A
Disc | ಡಿಸ್ಕ್
B
Dial | ಡಯಲ್
C
Blade | ಬ್ಲೇಡ್
D
Main scale | ಮೇನ್ ಸ್ಕೇಲ್
Question 12 1 Marks
Why surface plates are made of up of stress-relieved, good quality cast iron? | ಒತ್ತಡ-ನಿವಾರಕ, ಉತ್ತಮ ಗುಣಮಟ್ಟದ ಕ್ಯಾಸ್ಟ್ ಐರನಿಂದ ಸರ್ಫೆಸ್ ಪ್ಲೇಟ್ ಏಕೆ ತಯಾರಿಸಲಾಗುತ್ತದೆ?
A
To prevent corrosion | ತುಕ್ಕು ಹಿಡಿಯುವುದನ್ನು ತಡೆಗಟ್ಟಲು
B
To prevent breaking | ತುಂಡಾಗುವದನ್ನು ತಡೆಗಟ್ಟಲು
C
To prevent distortion | ವಿಸ್ತೃತಗೊಳ್ಳುವದನ್ನು ತಡೆಗಟ್ಟಲು
D
To prevent thermal expansion | ಉಷ್ಣ ವಿಸ್ತರಣೆಯನ್ನು ತಡೆಯಲು
Question 13 1 Marks
Why slots are provided in the slotted angle plate? | ಸ್ಲಾಟೇಡ್ ಆಂಗಲ್ ಪ್ಲೇಟ್‌ನಲ್ಲಿ ಸ್ಲಾಟ್‌ಗಳನ್ನು ಏಕೆ ಒದಗಿಸಲಾಗಿದೆ?
A
For job clamping | ವಸ್ತುಗಳನ್ನು ಹಿಡಿದಿಡಲು
B
For easy handling | ಸುಲಭ ನಿರ್ವಹಣೆಗಾಗಿ
C
For reducing the weight | ತೂಕ ಕಡಿಮೆಮಾಡಲು
D
For better appearance | ಸುಂದರವಾಗಿ ಕಾಣಲು
Question 14 1 Marks
Which metal property permits no permanent distortion on before breaking? | ಯಾವ ಲೋಹದ ಗುಣ ಒಡೆಯುವ ಮೊದಲು ಶಾಶ್ವತ ಅಸ್ಪಷ್ಟತೆಯನ್ನು ಅನುಮತಿಸುವುದಿಲ್ಲ?
A
Tenacity | ಜಿಗುಟತನ
B
Hardness | ಗಡಸುತನ
C
Brittleness | ದುರ್ಬಲತೆ
D
Toughness | ದೃಡತೆ
Question 15 1 Marks
Which metal property is beneficial for melting? | ಲೋಹದ ಯಾವ ಗುಣವು ಕರಗುವಿಕೆಗೆ ಪ್ರಯೋಜನಕಾರಿಯಾಗಿದೆ?
A
Fusibility | ಫ್ಯೂಸಿಬಿಲಿಟಿ
B
Specific gravity | ನಿರ್ದಿಷ್ಟ ಗುರುತ್ವಾಕರ್ಷಣೆ
C
Conductivity | ವಾಹಕತೆ
D
Structure | ಸ್ಟ್ರಕ್ಚರ್
Question 16 1 Marks
Which metal is a good conductor of heat and electricity? | ಯಾವ ಲೋಹವು ಶಾಖ ಮತ್ತು ವಿದ್ಯುಚ್ಛಕ್ತಿಯ ಉತ್ತಮ ವಾಹಕವಾಗಿದೆ?
A
Cast iron | ಕ್ಯಾಸ್ಟ್ ಐರನ್
B
Mild steel | ಮೈಲ್ಡ್ ಸ್ಟೀಲ್
C
Copper | ಕಾಪರ್
D
Wrought iron | ರೌಟ್ ಐರನ್
Question 17 1 Marks
What type of operation is carried out in a gang drilling machine? | ಗ್ಯಾಂಗ್ ಡ್ರಿಲ್ಲಿಂಗ್ ಯಂತ್ರದಲ್ಲಿ ಯಾವ ರೀತಿಯ ಕಾರ್ಯಾಚರಣೆಯನ್ನು ನಡೆಸಲಾಗುತ್ತದೆ?
A
Idle operation | ನಿಷ್ಕ್ರಿಯ ಕಾರ್ಯಾಚರಣೆ
B
Repeated operation of drilling | ಡ್ರಿಲ್ಲಿಂಗ್ ಪುನರಾವರ್ತಿತ ಕಾರ್ಯಾಚರಣೆ
C
Continuous milling operation | ನಿರಂತರ ಮಿಲ್ಲಿಂಗ್ ಕಾರ್ಯ
D
Successive operation of drilling | ಅನುಕ್ರಮದ ಡ್ರಿಲ್ಲಿಂಗ್ ಕಾರ್ಯ
Question 18 1 Marks
Which type of “V” block is shown in the figure? | ಚಿತ್ರದಲ್ಲಿ ಯಾವ ರೀತಿಯ ʺVʺ ಬ್ಲಾಕ್ ಅನ್ನು ತೋರಿಸಲಾಗಿದೆ?
Question Image
A
Single level single groove | ಸಿಂಗಲ್ ಲೆವೆಲ ಸಿಂಗಲ್ ಗ್ರೂವ್
B
Single level double groove | ಸಿಂಗಲ್ ಲೆವಲ್ ಡಬಲ್ ಗ್ರೂವ್
C
Double level single groove | ಡಬಲ್ ಲೆವಲ್ ಸಿಂಗಲ್ ಗ್ರೂವ್ ʹVʹ ಬ್ಲಾಕ್
D
Double level double groove | ಡಬಲ್ ಲೆವಲ್ ಡಬಲ್ ಗ್ರೂವ್
Question 19 1 Marks
Which material is used to manufacture Grade ‘A’ ‘V’ blocks? | ‘ಎ’ ದರ್ಜೆಯ ‘ವಿ’ ಬ್ಲಾಕ್‌ಗಳನ್ನು ತಯಾರಿಸಲು ಯಾವ ವಸ್ತುವನ್ನು ಬಳಸಲಾಗುತ್ತದೆ?
A
Tool steel | ಟೂಲ್ ಸ್ಟೀಲ್
B
Carbon steel | ಕಾರ್ಬನ್ ಸ್ಟೀಲ್
C
High quality steel | ಉತ್ತಮ ಗುಣಮಟ್ಟದ ಸ್ಟೀಲ್
D
Closely grained cast iron | ಕ್ಲೋಸಲಿ ಗ್ರೇನ್ಡ್ ಕ್ಯಾಸ್ಟ್ ಐರನ್
Question 20 1 Marks
What is the reading of the outside micrometer 50mm to 75mm shown in the figure? | ಚಿತ್ರದಲ್ಲಿ ತೋರಿಸಿರುವ ಔಟ್ ಸೈಡ್ ಮೈಕ್ರೊಮೀಟರ್ 50mm ನಿಂದ 75mm ರೀಡಿಂಗ್ ಏನು?
Question Image
A
63.63 mm
B
63.00 mm
C
63.36 mm
D
63.13 mm